世界gdp城市最新排名2022(世界城市GDP前10强公布)
世界gdp城市最新排名2022(世界城市GDP前10强公布)
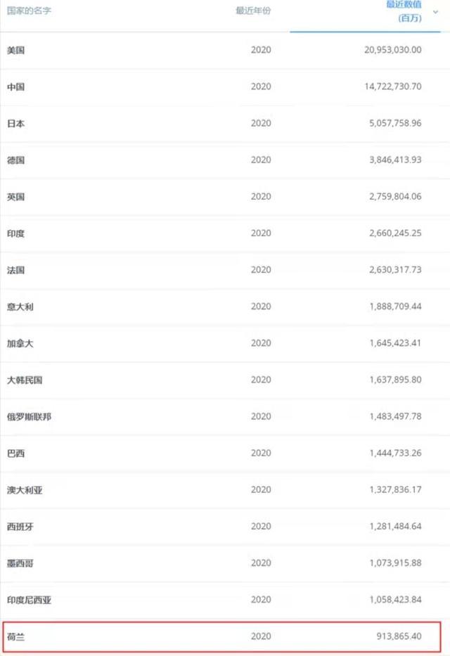
进入2022年,世界经济再出新变化。根据最新数据统计,荷兰完成的名义gdp由2020年的8000.96亿欧元,大幅提升至2021年的8591.66亿欧元,剔除物价变动因素后,实际增长4.8%。按平均汇率换算,荷兰经济规模达到了10161.7亿美元,也因此成功突破万亿美元。随着荷兰GDP再创新高,全球“万亿美元GDP俱乐部”也增加了荷兰这名新成员,总数量从过去的16个变成了17个。

随着全球“万亿美元GDP俱乐部”规模的扩大,有不少人好奇世界经济目前的发展状况,以及未来是否将迎来高速发展的时期呢?
实际上根据以往的数字来看,2020年世界GDP为84.71万亿美元,而10年前,2010年世界GDP为66.16万亿美元,也就是说10年时间内,世界GDP增长了18.55万亿美元。

虽然这个成绩还算令人满意,但不可否认的是,这份成绩单中,中国从6.09万亿美元到14.72万亿美元,增长了8.63万亿美元,美国从14.99万亿美元到20.94万亿美元,增长了5.95万亿美元,而欧盟从14.54万亿美元到15.19万亿美元,仅仅增长了0.65万亿美元。这也意味着,在过去的十年里,除去中美的14.58万亿美元,全世界的GDP仅增长了3.97万亿美元,而这个增速,显然是比较缓慢的。
而未来会如何?根据诸多专业机构的分析,普遍都认为未来世界经济增速将出现下降的趋势。其中世界银行预计2022年全球经济增速降至4.1%,2023年进一步下降至3.2%;国际货币基金组织预计2022年下降至4.4%,2023年放缓至3.8%;联合国预计2022年全球产值将仅增长4.0%,2023年将增长3.5%。

总体而言,未来一段时间内,世界GDP增速的下降似乎已成定局。但从另一方面来看,世界最大的发展中国家中国,正和美国一起成为世界GDP最重要的支撑。
的确,近年来,中国的GDP发展成绩有目共睹,在刚刚过去的2021年,中国GDP更是突破了114万亿元,相比2020年增长8.1%,以绝对处于世界领先水平的经济增速惊艳全世界。截止目前,中美GDP差距已缩小到了5万亿美元左右,很多机构和专家甚至预测,最快在2028年,中国GDP将完成对美国的超越。

在我国GDP高速增长的带动下,不少省份的经济也迎来高速发展的新时期,并创造不少新的记录。例如广东GDP首次突破12万亿,这一数字放在2020年可以排到全球所有国家和地区中的前十位,且高于前十名中的意大利(1.89万亿美元)、加拿大(1.64万亿美元)、韩国(1.64万亿美元)等发达国家,堪称“富可敌国”。而江苏省也在2021年实现了对俄罗斯的赶超,并拥有接近300亿美元的优势。进一步向全球前十的名次发起挑战。
那么具体到各个城市,我国的表现又如何?又有哪些城市能够登上全球前十的榜单呢?

根据“世界城市gdp排行榜(2021)”来看,目前排名第一的仍是纽约。作为世界经济中心,纽约的经济发展实力十分雄厚。早在2010年,其GDP就已经达到了1.5万亿美元,到2021年,纽约GDP更达到1.1万亿美元,其经济规模几乎超过了世界上大多数国家的GDP。
仅次于纽约的是日本东京。近年来,尽管日本经济体量已经不复往日,但依然是全球经济巨头之一,尤其是日本东京。要知道, 东京几乎囊括了世界上所有最著名的大型跨国企业,并且有36家世界500强的公司企业的总部就在东京,繁华程度可想而知。而除了优越的商业环境,庞大的人口规模和日本最顶尖的人才、教育和科技等众多优势也均汇集于此,东京的GDP位列全球第二,也就不足为奇了。

此外,位于美国第一大州加州的洛杉矶此次排名第三。要知道,加州的GDP规模可以超过英国,位居全球前五,而作为加州汽车制造、钢铁、石油、航天的制造基地,洛杉矶的经济实力自然也是强的。

总体来看,在此次全球GDP前十强城市中,美国目前除纽约和洛杉矶入围外,还有GDP排名全球第八的芝加哥和排名全球第九的费城。此外,日本有东京1座城市入围,那么其他5座城市来自哪些国家?
英国和法国各有一城上榜。分别是排名全球第五的英国伦敦和排名第六的法国巴黎。其中伦敦是世界顶级的国际大都市,控制着全世界45%的外汇交易和黄金、白银等大宗商品定价权,其经济实力不言而喻。

而巴黎不仅是法国的政治、经济、文化、商业中心,甚至被誉为国际五大都市之一,其GDP实力之强可见一斑。因此虽然在受到疫情冲击及全球贸易不景气的影响下,伦敦和巴黎的GDP排名均有下滑, 而且本身GDP增长也属于低迷态势,但两座城市仍旧稳居全球10强之列。
那么,我国究竟有几座城市成功登上全球十强的名单呢?根据数据统计显示,目前我国是共有上海和北京两城登上全球GDP十强的榜单。
大家知道,目前我国上海和北京的GDP双双突破了4万亿,其中上海作为我国GDP最高的城市,与北京相比仍然保持领先,GDP达到4.32万亿人民币,按照汇率折算为6698亿美元左右,增量则超过1000亿美元。

上海经济的快速提升,在排名上创造了一个新的惊喜。要知道2020年时年上海的GDP排名还在全球第八,原以为进入世界前五还需要不少时间,但随着最终成绩的出炉,目前上海已成功超越伦敦(2021年GDP折合4.29万亿人民币),和巴黎(2021年GDP折合4.25万亿人民币),首次进入全球前五,排名全球第四,达到了前所未有的高度。

而北京的排名又是多少呢?2021年,北京GDP也首次突破4万亿人民币,GDP增速比上海还要高,如果换算为美元后,在全球的排名也实现了提升,从全球第九提升至全球第七,上升了两个排名,GDP跟在伦敦、巴黎之后。根据预测,北京GDP有望在未来2-3年内超越伦敦和巴黎,未来也有很大可能进入世界前五。

值得一提的是深圳。据深圳统计局数据,2021年全深圳市地区生产总值为30664.85亿元,比上年增长6.7%,两年平均增长4.9%。也就是说,2021年,深圳经济总量首次突破3万亿大关,站上了新台阶。而这也意味着深圳以约4754亿美元的GDP成功超越韩国首尔(GDP为4472亿美元),那么深圳是否已经稳居世界前十?

答案仍不确定。因为如果按照2020年的数据,那么位于全球第十名的美国休斯顿,GDP折合人民币是3.22万亿元。而如果考虑到2021年美元兑人民币的变动因素,深圳是很有可能在2021年超越休斯顿来到全球gdp前十的位置的。但由于休斯顿目前还没有公开的2021年GDP数据,因此深圳到底是否能够超越休斯顿成为全球第十名,我们暂且拭目以待。
不可否认的是,除深圳外,随着我国经济不断发展,未来将会有更多城市站上全球十强的位置。例如广州位居全球第15位,超过日本大阪,重庆和香港也入围全球GDP前20强。可以看到,这些城市的全球排名也都是有所提升,并且离前十强越来越近。
你认为深圳此次能进入全球GDP十强吗?下一个跻身全球GDP十强城市的又会是谁?
,
-
- 南沙群岛自由行旅游攻略(寸土必争的南海)
-
2023-07-30 02:27:21
-
- 顺德龙眼村美食农庄(广州城市农家乐享受自然的味道)
-
2023-07-30 02:25:05
-
- 江苏省苏州市昆山市在哪里(江苏省苏州市昆山市)
-
2023-07-30 02:22:50
-
- 佛山十大旅游景点你去过几个(广东佛山最著名的十五大景点)
-
2023-07-30 02:20:33
-
- 广州广清城轨最新消息(广州东环城际开通)
-
2023-07-30 02:18:17
-
- 比较好的婚礼策划公司(北京婚礼策划十强)
-
2023-07-30 02:16:02
-
- 北京市看夜景最好的地方(北京这十个好地方别错过)
-
2023-07-30 02:13:02
-
- 上海市第三座来福士(北外滩又有新进展)
-
2023-07-30 02:10:46
-
- 救援进行时这些现场令人泪目(一条来自上海的求援信息十万火急)
-
2023-07-30 02:08:31
-
- 北京市朝阳区芳草地国际学校分校(芳草地国际学校远洋小学)
-
2023-07-30 02:06:15
-
- 在洞里发现巨大的巨蟒(福建惊现20多斤蟒蛇晒太阳)
-
2023-07-30 02:03:59
-
- 嘉定老城区最新规划(上海这个区的人身价涨了)
-
2023-07-30 02:01:43
-
- 夏威夷的一座城市又称檀香山(夏威夷州府为何叫)
-
2023-07-30 01:59:27
-
- 成都马拉松42公里赛道展示(不压赛道勇夺金牛)
-
2023-07-30 01:57:11
-
- 福州罗源湾海洋世界攻略(福建遛娃之福州罗源湾海洋世界)
-
2023-07-30 01:54:55
-
- 杭州最新主城区划分图良渚(图解城市--杭州下沙篇)
-
2023-07-30 01:52:39
-
- 山西洪洞县大槐树在哪里(若问祖先何处来)
-
2023-07-29 05:46:38
-
- 山东淄博事业单位改制最新消息(山东一地一批事业单位建制撤销)
-
2023-07-29 05:44:22
-
- 北京青年旅社推荐排名(全国270家青年旅社攻略)
-
2023-07-29 05:42:06
-
- 北京的学区房真的降价了吗(学区房或将迎来破灭前的最后挣扎)
-
2023-07-29 05:39:50



世界综合国力排名(联合国五常综合实力大排名)
2023年十大高产玉米品种(排名第一的玉米品种名字)